Hi Oms,
is there any PTT-Signal available ?
I would like to control an amplifier behind the LimeSDR Mini.
Software is SDR_Console 3.0.4.
I checked all the visible connectors, no change in level while tx on.
Pretty sure, I am not alone with this question?
Thanks in advance
Regards
73s
Andreas, DL5CN
GPIO could be controled from application (SDRConsole), but need to be implented : you should ask to @SimonG4ELI
For information PTT is implemented and works fine on DATV Porstdown project.
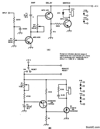
Another way to go about this is to have a COR (Carrier Operated Relay) circuit that is external to the RF path you intend to use and wouldn’t be hard to implement in hardware. The LimeSDR RF output is guaranteed to at least -5dBm to 0dBm (in most cases this would be +10dBm) and adding a COR circuit to the output when activated by the TX button on the SDRConsole GUI would give you the same effect and no software implementation is required. The COR could be as simple as a capacitively coupled FET or bipolar transistor very much like the attached:
This is a fairly common way to switch if you don’t have the luxury to have it added in the GPIO of the 'Mini.
Just my 23 cents on the matter - 73
de Marty, KN0CK
Hi Marty,
thanks for the hints. It is clear to me, to have a control circuit based on
rf-rectification and a specific time constant. Before this, I want to be sure not to
overlook the simple softwarebased solution. I think, there are much more hams
trying to use amplifiers. The goal is Es’Hail transmitting on 2,4 GHz.
I wonder a bit why there is no firmware solution in the FPGA?
At least a rf-vox can do it…of course.
By the way, which current can be used for the fan?
The switch is good for some amps, the limit may be the USB Port ?
Thanks
Regards
73s
Andreas
I would caution against using a carrier operated relay, as it would be triggered by the LimeSDR calibration routine which generates high outputs on and away from the desired frequency. At the very least you will end up with illegal transmissions, and you may well damage your power amplifier.
Better to challenge the software designers to set a GPIO (on the host computer or the LimeSDR) high when the calibration routine is finished. This is what the Portsdown Digital ATV Transmitter does.
Dave, G8GKQ
Hallo Dave,
I agree with you fully. RF-Vox is a compromise.
I would prefer a GPIO-Level change.
We will see.
73s
Andreas, DL5CN
USB relay
Hi,
release 3.0.6 of SDR Console will support an USB relay.
73s
Andreas
SDRConsole supports a specific brand of relay that Simon identified as ‘MagiDeal’ USB relays using HID technology. There are other USB relays out there, but they identify as a COM port device and have a specific ON and OFF data pattern:
ON: 0xA0 0x01 0x01 0xA2
OFF: 0xA0 0x01 0x00 0xA1
…Those type of relays are PLENTIFUL in the US and yet to be identified by SDRConsole…So buyer beware on that until this is addressed…You have to buy ‘MagiDeal’ USB relays, or those that support HID technology for now to have it work for SDRConsole.
Hope this helps - 73 de Marty, KN0CK
Marty, you mean like this one?
73
Djani
@9a4db - Djani,
Yep - that’s the one…They make them in single, dual, 4-pack, and 8-pack configurations, too.
73 de Marty, KN0CK
Hi Oms,
I tested a dual relay successful a couple of minutes ago. It works fine as PTT output.
Unfortunately I am going to change the board, because the loop test failed.
So, I hope, we will meet at Es’ Hail soon.
Thanks
73
Andreas
Question does this calibration happen only once at start or just randomly when retuning? If so would it be unsafe to use the LimeSDR with an antenna at any time?
Hi
It depends on the application driving the LimeSDR. Using the LimeSDR_toolbox suite it only calibrates once at the start of each transmission. There are some versions of this code that have been modified to only calibrate on demand (say after a large frequency change).
None of the applications that I have looked at change frequency significantly whilst continuously transmitting (so don’t need to recalibrate). However - if your application calls for this…
Hope that helps
Dave
Well I wanted to build a PA / Filter system for my LimeSDR Mini and wanted to add a TX RX switch so I could connect to a single antenna. I was researching for how to get a PTT / TX signal and found this thread.
I planed on using GNURadio or SDRAngle (Maybe some other one of the popular ones)
I am not sure why there isn’t some setting in the firmware to enable a PTT gpio or something. It would make a lot of sense for many applications.
Hi
Many potential use-cases for the LimeSDR will not have the concept of separate TX and RX states (such as GSM base stations).
However, for those applications that do, it is easily possible to implement a PTT GPIO. I have done it for the Portsdown digital amateur television transmitter here: BATC Portsdown GitHub Code Fragment. I don’t think that SDRAngel implements anything similar, and you’d probably need to write your own code for GNURadio.
Dave
Even for that knowing when your transmitting is a good thing to save power. No need to leave PAs running for no reason.
Also how does the LimeRFe control it’s TX RX switches? As according the the design they have as a block sort of image it has a lot of them.
Toggled by LMS API calls. See this example:
https://github.com/myriadrf/LimeSuite/blob/LimeRFE/src/examples/limeRFE_USB_example.cpp
Hi guys,
I just got the 5V USB Relay 2 Channel Programmable Computer Control For Smart Home /not MagiDeal/ I ordered on ebay from ezcar_lI. There are two relays on the board and the green terminal.
It is recognized by SDR Console as the HID device, and works well when switching from RX to TX. The board is labelled as HW-343. The seller cannot deliver the programming tools even it is advertised in the product description on his ebay listing, if you would need those for another application. Simon did a wonderful job adding support for HID devices in his SDR Console.
73, Ted VE7VIB

